| no. | description | part number | 2003 price | notes |
|---|---|---|---|---|
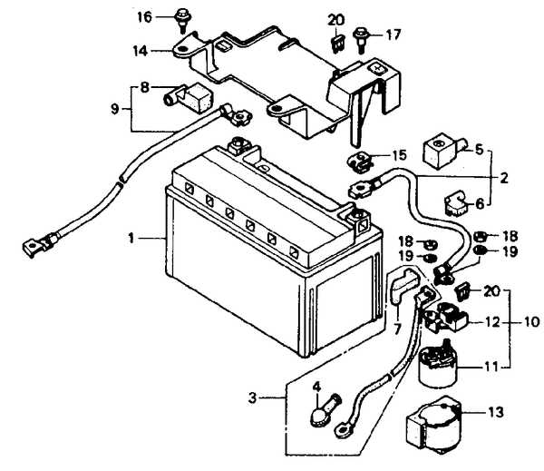
| 1 | BATTERY (YTX9-BS) | 31500-MN4-675 | $59.92 | more info |
| 2 | CABLE | 32401-MN8-000 | $13.94 | |
| 3 | CABLE, STARTER MOTOR | 32410-MN8-000 | $20.88 | |
| 4 | COVER | 32411-230-000 | $4.98 | |
| 5 | COVER | 32414-MN8-000 | $2.80 | |
| 6 | COVER A | 32415-MF5-840 | $2.80 | |
| 7 | COVER B | 32416-MF5-000 | $2.80 | |
| 8 | COVER | 32417-MN8-000 | $2.80 | |
| 9 | CABLE | 32601-MN8-000 | $20.26 | |
| 10 | SWITCH ASSY. | 35850-MF5-751 | $65.51 | |
| 11 | SWITCH COMP. | 35851-MF5-751 | $54.69 | |
| 12 | HOLDER ASSY., FUSE | 35855-MF5-751 | $17.52 | |
| 13 | RUBBER, SHOCK | 35856-MF5-751 | $5.00 | |
| 14 | COVER, BATTERY BOX | 50326-MN8-000 | $12.66 | |
| 15 | NUT, CLIP (6MM) | 64529-MC7-000 | $2.29 | |
| 16 | BOLT, FLANGE (6MM) | 90111-162-000 | $1.86 | |
| 17 | BOLT, FLANGE (6X16) | 90113-MJ4-670 | $2.02 | |
| 18 | NUT, HEX. (6MM) | 94002-06080-0S | $0.48 | |
| 19 | WASHER, SPRING (6MM) | 94111-06800 | $0.35 | |
| 20 | FUSE, BLADE (30A) | 98200-33000 | $0.45 |
The data was scraped from The Internet in 2003.
The useful data has been corrected and updated where possible.
We have made no effort to keep pricing up-to-date.